drilling coulter bar w cultidisc - p100 isobus (cw)
... 17cw09100
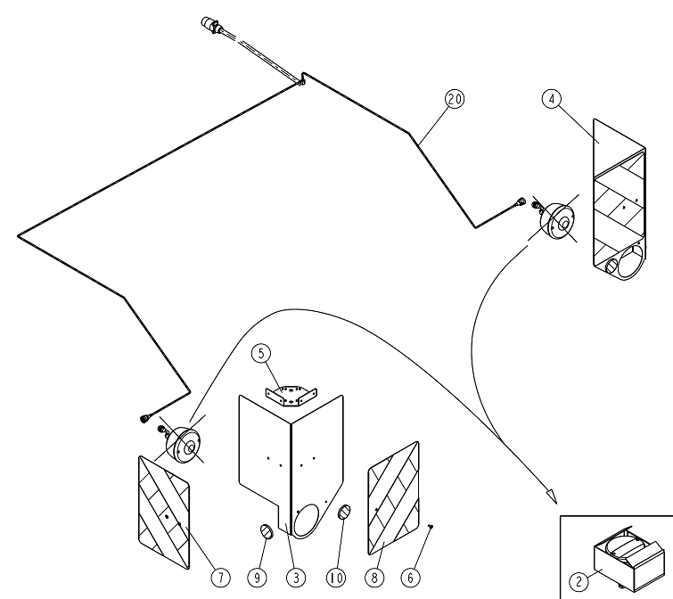
mb141301-01
| Marker | Reference | Designation | Retail price Excl. VAT | Status part | Qty |
|---|---|---|---|---|---|
| 2 | 011275 911275M | 911275 | SUPPORT LIGHT KIT, AS SEEDER | Referenced product | ||
| 3 | 052493 952493 | REAR LIGHTS SUPPORT, R TF | Referenced product | ||
| 4 | 052492 952492 | RR L LIGHT SUPPORT TF | Referenced product | ||
| 5 | 054085 954085 | IDENTIFICATION PLATE GUSSET TF | Available until out of stock | ||
| 6 | 535653 | HEAD SCREW TRL 6 15 Z | Referenced product | ||
| 7 | 688110 088110 | 988110 | REFL. STICKER | Referenced product | ||
| 8 | 688109 088109 | 988109 | REFL. STICKER | Referenced product | ||
| 9 | 836008 | Reflector | Referenced product | ||
| 10 | 836003 | RED REFLECTOR DIAM 60 | Referenced product | ||
| 20 | 721846 7502332 | FAISCEAU SIGNALISATION OC | Referenced product |